ATHENA 2022 > Befehle und Funktionen > Blech > Blechquerschnitt
Blechquerschnitt
 
Multifunktionsleiste:
Register ATHENA > Gruppe Zeichnen > Blechquerschnitt
Menü:
ATHENA > Blech > Blechquerschnitt
 
Werkzeugkasten:
ATH Blech > Blechquerschnitt
ATHENA Zeichnen > Blechquerschnitt
Befehlseingabe:
ath_sheet_cs
Mit dieser Funktion erzeugen Sie Blechquerschnitte oder Querschnitte von Verbundplatten. Diese lassen sich ähnlich wie Polylinien mit Griffen oder durch Strecken verändern. Zur Erzeugung des Querschnitts stehen verschiedene Konstruktionsmöglichkeiten zur Verfügung.
Dialogfeld Blechquerschnitt
Im Dialogfeld finden Sie auf der linken Seite den Darstellungsbereich mit der dynamischen Vorschau. Auf der rechten Seite sehen Sie die Registerkarten Eigenschaften, Beschichtung, Abschluss, Bereiche und Verwaltung.
db_ath_blec_schnitt
Links oben gibt es zwei Buttons für Favoriten. Weitere Informationen dazu finden Sie im Abschnitt Favoriten speichern und verwenden .
Die Vorschau dient in erster Linie der visuellen Kontrolle und zeigt das Teil mit den eingestellten Eigenschaften.
Dialogfeldbereich Darstellung
Kontur
Erzeugt einen Blechquerschnitt ohne Füllung.
Liniert
Erzeugt einen linierten Blechquerschnitt.
Schraffiert
Erzeugt einen Blechquerschnitt mit Schraffurfüllung. Es wird die materialabhängige Schraffur verwendet.
Schraffur Kernschicht
Schaltet die Schraffurfüllung der Kernschicht der Verbundplatte ein oder aus. Diese Option wird nur angezeigt, wenn Verbundplatten gewählt wurden.
Öffnet das Dialogfeld Layerzuordnung. Weitere Informationen dazu finden Sie im Kapitel Layerzuordnung .
Öffnet das Dialogfeld Schraffurzuordnung. Weitere Informationen dazu finden Sie im Kapitel Schraffurzuordnung .
Öffnet das Dialogfeld Beschriftung. Weitere Informationen dazu finden Sie im Kapitel Beschriftung .
Dialogfeldbereich Konstruktion
Normal
Mit der Option Normal erzeugen Sie einen Blechquerschnitt indem Sie Maßstab, Wandstärke, Schenkellängen und -winkel durch Koordinaten vorgeben.
Einpassen
Mit der Option Einpassen erzeugen Sie einen Blechquerschnitt durch anklicken von Fangpunkten.
Polylinie
Mit der Option Polylinie wandeln Sie eine Polylinie in einen Blechquerschnitt um.
Der Bedienbereich beinhaltet folgende Registerkarten:
Registerkarte Eigenschaften
Blech
Aktiviert die Blecheigenschaften.
Verbundplatte
Aktiviert die Verbundplatteneigenschaften.
Dialogfeldbereich Eigenschaften Blech
db_ath_blec_schnitt_blech
Blechdicke
Definiert die Dicke des Bleches.
Biegeradius innen
Definiert den inneren Biegeradius. Der Biegeradius kann an dieser Stelle nur geändert werden, wenn die Abwicklung nach neutraler Faser erfolgt. Ansonsten wird der in der Biegetabelle eingestellte Radius verwendet.
Distanz Quetschbug
Definiert die Distanz zwischen Blechkante und Quetschbug.
Material
Öffnet das Dialogfeld Materialauswahl, wo Sie ein Material auswählen können. Weitere Hinweise zu Materialien finden Sie in den Kapiteln Material und Materialauswahl .
Kantung
Zeigt die Kantungstabellen, die dem Material zugewiesen wurden. Hier können Sie eine Tabelle mit Biegezuschlägen auswählen, damit für das gekantete Halbzeug die korrekte Abwicklung berechnet werden kann.
Optional können Sie hier auch Abwicklung nach neutraler Faser wählen und den Biegeradius im entsprechenden Eingabefeld angeben.
Beim Berechnen der Abwicklung nach neutraler Faser wird die Teillänge des Bogens korrigiert. Der Korrekturfaktor (k-Faktor) nach DIN 6935 ist abhängig vom Biegeradius und der Blechdicke und muss jeweils berechnet bzw. aus einem Diagramm abgelesen werden.
[...]
Öffnet das Dialogfeld Ausgleichswerte Blech, wo Sie die Tabellen mit den Abzugswerten bearbeiten können.
Weitere Hinweise dazu finden Sie im Kapitel Ausgleichswerte Blech .
Artikel
Öffnet das Dialogfeld Artikel, wo Sie eine Artikelnummer angeben können. Eine ausführliche Erklärung zu Artikeln finden Sie im Kapitel Artikel .
Kantteil
Öffnet das Dialogfeld Kantteil, wo Sie das Blech als eindeutiges Kantteil beschreiben können. Eine ausführliche Erklärung dazu finden Sie im Kapitel Kantteil .
Dialogfeldbereich Eigenschaften Verbundplatte
db_ath_blec_schnitt_alucobond
Liste
Zeigt die verfügbaren Hersteller und deren Produkte in einer Baumstruktur. Hier können Sie den gewünschten Hersteller mit der Maus wählen. Geschlossene Zweige der Baumstruktur werden mit + gekennzeichnet. Geöffnete Zweige werden mit - gekennzeichnet.
Dicke
Definiert die Dicke der Verbundplatte.
Fräsnut
Definiert die Fräsnut für Kantungen der Verbundplatte. Abhängig vom Plattentyp stehen verschiedene Fräsnuten und Formen zur Auswahl.
[...]
Öffnet das Dialogfeld Fräskanttechnik. Dort finden Sie weitere technische Informationen zur gewählten Fräsnut.
Artikel
Öffnet das Dialogfeld Artikel, wo Sie eine Artikelnummer angeben können. Eine ausführliche Erklärung zu Artikeln finden Sie im Kapitel Artikel .
Kantteil
Öffnet das Dialogfeld Kantteil, wo Sie das Blech als eindeutiges Kantteil beschreiben können. Eine ausführliche Erklärung dazu finden Sie im Kapitel Kantteil .
Schichten
Hier werden die Dicken der inneren und äußeren Deckschicht sowie der Kernschicht angezeigt.
Registerkarte Beschichtung
db_ath_blec_schnitt_beschichtung
Abstand Beschichtungslinie
Aktiviert die Überschreibung des Vorgabeabstands der Beschichtungslinie. Im Eingabefeld können Sie den Abstand der Beschichtungslinie zum Blech definieren.
Fläche
Schaltet die Beschichtungslinie für die Ansichtsseite ein.
Fläche
Schaltet die Beschichtungslinie für die Gegenseite ein.
Stirn
Schaltet die Beschichtungslinie für die Stirnseite ein.
Oberfläche
Aktiviert eine Oberflächenangabe für die Fläche.
Wenn Sie die Beschichtungslinien für beide Flächen angeben, können Sie für jede Fläche eine eigene Oberfläche angeben. Beispielsweise eine RAL-Farbe für die Oberseite und eine Antidröhnbeschichtung für die Unterseite des Bleches.
Wenn Sie die Beschichtungslinie für die Stirnseite einschalten, ist nur noch eine Oberflächenangabe möglich.
Die Oberflächenangabe wird bei der Beschriftung ausgegeben.
Wenn Sie ein Blech mit Oberflächenangabe für eine Blechabwicklung verwenden wird neben der Oberflächenbezeichnung auch die Fläche der Beschichtung beschriftet.
[...]
Öffnet das Dialogfeld Oberflächen-Manager, wo Sie eine Oberfläche auswählen und der Fläche zuweisen können. Weitere Informationen finden Sie im Abschnitt Oberflächen verwalten .
Registerkarte Abschluss
db_ath_blec_schnitt_abschluss
Dialogfeldbereich Aufsichtsseite
Aufsichtsseite wechseln
Wechselt die Aufsichtsseite. Die Aufsichtsseite wird in der Vorschau mit einem roten Pfeil markiert.
Bei Blechen wird so festgelegt, ob die erste Kantung nach unten oder nach oben erfolgt. Bei Verbundplatten wird festgelegt, welche Seite (Gegenseite) gefräst wird.
Dialogfeldbereich Start
Der Schalter aktiviert den Abschluss am Anfang des Blechschnittes.
Wechselt die Richtung der Kantung für den gewählten Abschlussfalz.
Definiert einen Quetschbug als Abschluss.
Definiert einen Rollbug als Abschluss.
Definiert einen Rollbug mit Falz als Abschluss.
Definiert einen abgerissenen Abschluss.
Länge
Bestimmt die Länge des Abschlussfalzes. Diese Option ist nur für den Quetschbug und den Rollbug mit Falz verfügbar.
Höhe
Bestimmt die Höhe des Abschlussfalzes. Diese Option ist nur für den Rollbug und den Rollbug mit Falz verfügbar.
Dialogfeldbereich Ende
Der Schalter aktiviert den Abschluss am Ende des Blechschnittes.
Die Funktion der Schaltflächen ist identisch mit denen im Dialogfeldbereich Start.
Registerkarte Bereiche
db_ath_blec_schnitt_bereiche
Hier können Sie die Bereichseinstellungen anpassen. Diese sind nur bei Verbundplatten verfügbar.
Nur Artikel
Zeigt nur die Verbundplatten, denen eine Artikelnummer zugewiesen ist.
Bereich
Listet alle verfügbaren Bereiche auf.
Einschließen
Nimmt den markierten Bereich in die Anzeige auf. Eingeschlossenen Bereichen wird ein + (Plus) vorangestellt.
Ausschließen
Entfernt den markierten Bereich aus der Anzeige. Ausgeschlossenen Bereichen wird ein - (Minus) vorangestellt.
Registerkarte Verwaltung
Eine ausführliche Beschreibung der Verwaltungsfunktionen finden Sie im Kapitel Verwaltung von Objekten .
Wenn Sie OK klicken wird das Dialogfeld beendet. Es folgt eine Eingabeaufforderung abhängig von der gewählten Konstruktionsart. Die Eingabeaufforderungen bei Blechen und Verbundplatten sind identisch.
Sie können das Dialogfeld Blechquerschnitt unmittelbar nach Befehlsaufruf durch Drücken der Eingabetaste beenden, um zur Eingabeaufforderung zu gelangen. Dadurch haben Sie die Möglichkeit sehr schnell mehrere Bleche mit identischen Eigenschaften zu erstellen.
Bsp: Sie haben soeben ein Blech mit bestimmten Eigenschaften erstellt. Drücken Sie nun zweimal die Eingabetaste (einmal um den Befehl Blechquerschnitt zu wiederholen, ein zweites mal um das Dialogfeld sofort zu beenden) und zeichnen Sie ein weiteres Blech mit den gleichen Eigenschaften.
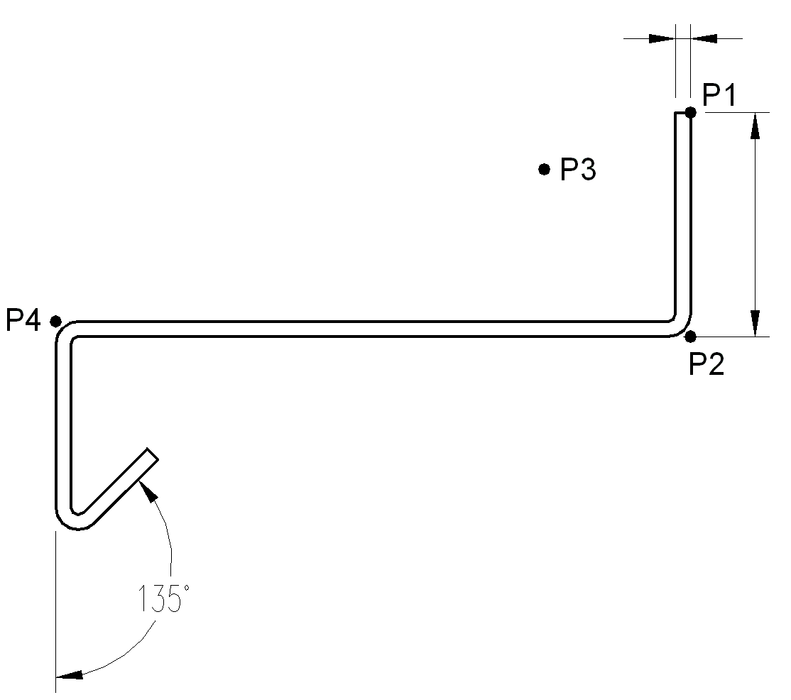
EingabeaufforderungKonstruktionsart Normal
Anfangspunkt des Blechquerschnitts angeben oder [?]:
Bestimmen Sie den Anfangspunkt des Bleches mit der Maus oder durch Eingabe der Koordinaten; siehe Abbildung Blechquerschnitt Option normal P1.
Mit der Option ? rufen Sie die Hilfe auf.
Nächsten Punkt angeben oder [Richtung/Länge/Zurück/?]:
Bestimmen Sie den nächsten Punkt des Bleches; siehe Abbildung Blechquerschnitt Option normal P2.
Mit der Option Richtung können Sie die Richtung für den Schenkel angeben. Es folgen weitere Eingabeaufforderungen.
Mit der Option Länge können Sie die Länge für den Schenkel angeben. Es folgen weitere Eingabeaufforderungen.
Mit der Option Zurück wird die vorherige Eingabeaufforderung wiederholt um fehlerhafte Eingaben zu korrigieren.
Seite für Wandstärke angeben oder [Zurück/Mittig/?] <Mittig>:
Klicken Sie auf die Seite mit der Maus auf der die Wandstärke des Blechschenkels aufgebaut werden soll (siehe Abbildung Blechquerschnitt Option normal P3).
Mit der Option Mittig wird die Wandstärke mittig zum Blechquerschnitt erzeugt.
Aufsichtsseite angeben oder [Zurück/?]:
Klicken Sie auf die Seite, die als Aufsichtsseite definiert werden soll. Diese Eingabeaufforderung erscheint nur bei Verbundplatten, da diese auf der Gegenseite gefräst werden.
Nächsten Punkt angeben oder [WInkel/Richtung/Länge/Quetschbug/Zurück/?]:
Geben Sie den nächsten Punkt des Blechquerschnittes an.
Mit der Option WInkel können Sie eine Kantwinkel angeben. Es folgen weitere Eingabeaufforderungen.
Mit der Option Quetschbug können Sie einen Quetschbug definieren. Es folgen weitere Eingabeaufforderungen.
Diese Eingabeaufforderung wird solange wiederholt, bis Sie die Routine durch Eingabe von Enter beenden.
Option Richtung
Richtung angeben oder [Länge/Zurück/?]:
Zeigen Sie die Richtung mit der Maus.
Schenkellänge angeben oder [Richtung/Zurück/?]:
Zeigen Sie die Länge des Blechschenkels mit der Maus oder geben Sie eine Länge ein.
Mit der Option Richtung können Sie die Richtung korrigieren.
Seite für Wandstärke angeben oder [Zurück/Mittig/?] <Mittig>:
Klicken Sie mit der Maus auf die Seite auf der die Wandstärke des Blechschenkels aufgebaut werden soll (siehe Abbildung Blechquerschnitt Option normal P3).
Mit der Option Mittig wird die Wandstärke mittig zum Blechquerschnitt erzeugt.
Option Länge
Schenkellänge angeben oder [Richtung/Zurück/?]:
Zeigen Sie die Länge des Blechschenkels mit der Maus oder geben Sie eine Länge ein.
Richtung angeben oder [Länge/Zurück/?]:
Zeigen Sie die Richtung mit der Maus.
Seite für Wandstärke angeben oder [Zurück/Mittig/?] <Mittig>:
Klicken Sie auf die Seite mit der Maus auf der die Wandstärke des Blechschenkels aufgebaut werden soll (siehe Abbildung Blechquerschnitt Option normal P3).
Mit der Option Mittig wird die Wandstärke mittig zum Blechquerschnitt erzeugt.
Option Quetschbug
Seite für Quetschbug angeben oder [Zurück/?] <Zurück>:
Bestimmen Sie die Seite auf welcher der Quetschbug erstellt werden soll.
Schenkellänge angeben oder [?]:
Geben Sie die Schenkellänge des Quetschbugs an.
Option WInkel
Winkel angeben oder [Richtung/Länge/Zurück/?]:
Zeigen Sie einen Winkel mit der Maus oder geben Sie einen Winkel ein.
Schenkellänge angeben oder [WInkel/Richtung/Zurück/?]:
Zeigen Sie die Länge des Blechschenkels mit der Maus oder geben Sie eine Länge ein.
Mit der Option WInkel können Sie den Kantwinkel korrigieren.
Seite für Wandstärke angeben oder [Zurück/Mittig/?] <Mittig>:
Klicken Sie auf die Seite mit der Maus auf der die Wandstärke des Blechschenkels aufgebaut werden soll (siehe Abbildung Blechquerschnitt Option normal P3).
Mit der Option Mittig wird die Wandstärke mittig zum Blechquerschnitt erzeugt.
Einige Abfragen werden wiederholt bis Sie Enter eingeben um das Programm zu beenden.
ath_blec_schnitt_normal
Abb. 5.1: Blechquerschnitt Option normal
EingabeaufforderungKonstruktionsart Einpassen
Die Eingabeaufforderungen bei der Konstruktionsart Einpassen sind weitestgehend identisch mit denen der Konstruktionsart Normal. Der einzige Unterschied besteht darin, dass Sie die Seite der Wandstärke für jeden Blechschenkel neu bestimmen können.
ath_blec_schnitt_einpassen
Abb. 5.2: Blechquerschnitt, Option einpassen
EingabeaufforderungKonstruktionsart Polylinie
Polylinie wählen oder [?]:
Wählen Sie die Polylinie mit der Maus, aus der ein Blechquerschnitt erstellt werden soll. Mit der Option ? rufen Sie die Hilfe auf.
Seite für die Wandstärke angeben oder [Mittig/?] <Mittig>:
Klicken Sie auf die Seite mit der Maus auf der die Wandstärke des Blechschenkels aufgebaut werden soll.
Mit der Option Mittig wird die Wandstärke mittig zum Blechquerschnitt erzeugt.
Polylinie löschen [Ja/Nein/?] <Ja>:
Mit der Option Ja löschen Sie die vorhandene Polylinie.
Mit der Option Nein bleibt die Polylinie erhalten.
Anmerkungen 
Sie können Blechquerschnitte mit Griffen oder dem AutoCAD Befehl strecken verändern.
Klicken Sie doppelt auf das Blech oder verwenden Sie den Befehl Objekt ändern, um die Eigenschaften (z.B. Dicke) eine Blechschnittes zu ändern, .
Verwenden Sie Teile beschriften um das Blech mit einer Führung zu beschriften.
Für Bleche stehen nur die Materialien zur Verfügung, denen eine Biegetabelle zugewiesen wurde. Weitere Hinweise finden Sie im Kapitel Material .
Zugehörige Befehle:
Zuletzt geändertes Datum: 20.07.2022