Ausgleichswerte Blech
Hier bestimmen Sie die Ausgleichswerte, die ATHENA für Abwicklungen von Blechquerschnitten des gewählten Materials verwendet.
Die angegebenen Werte werden jeweils von den Außenkanten der Blechschenkel abgezogen.
ath_mat_sys_bend
Abb. 1.7: Maße zur Berechnung der Biegeabzüge
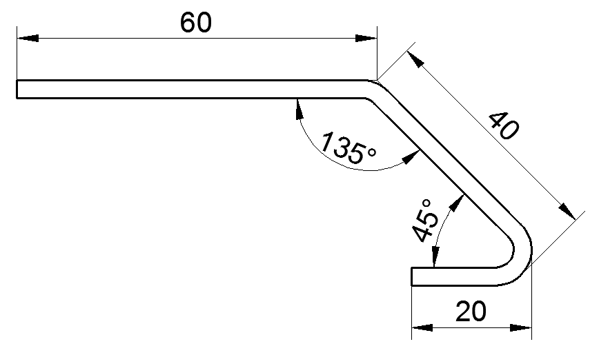
| Bei einem stumpfen Winkel wird der Schnittpunkt der Blechaußenkanten gemessen. Bei einem spitzen Winkel wird auf den äußeren Punkt gemessen. |
ath_mat_sys_bend1
Abb. 1.8: Maßpunkte: links stumpfer Winkel, rechts spitzer Winkel
Dialogfeld Ausgleichswerte Blech
db_ath_mat_sys_bend
Über dem Bereich Kantungstabellen wird das aktive Material angezeigt (z.B. Al - Aluminium).
Dialogfeldbereich Kantungstabellen
db_ath_mat_sys_bend_kantung
Hier verwalten Sie die Kantungstabellen und deren Zuordnung zum aktuellen Material.
Name
Die Liste enthält die Tabellen, die dem aktuellen Material zugeordnet sind. Sie können eine vorhandene Tabelle wählen um sie zu ändern. Um eine neue Tabelle zu erstellen geben Sie einen neuen Namen ein. Mit Rechtsklick erscheint ein Kontextmenü mit weitere Bearbeitungsmöglichkeiten.
Tabelle lösen
Entfernt die Zuordnung zum aktuellen Material
Tabellen
Enthält alle verfügbaren Tabellen. Sie können eine Tabelle wählen. Mit Rechtsklick erhalten Sie weitere Bearbeitungsoptionen.
Tabelle zuordnen
Ordnet die markierte Tabelle dem aktiven Material zu.
Tabelle löschen
Löscht die markierte Tabelle. Tabellen, die einem Material zugeordnet sind, können nicht gelöscht werden.
Bezeichnung
Definiert die Bezeichnung der Tabelle in verschiedenen Sprachen. Sie können eine Sprache wählen und den Text in die Eingabezeile eingeben.
[...]
Öffnet das
Dialogfeld Bezeichnung, wo Sie die Bezeichnungen für verschiedene Sprachen komfortabler bearbeiten können. Weitere Informationen finden Sie im Kapitel
Bezeichnung .
Biegeradius innen
Definiert für welchen inneren Biegeradius die Zuschläge gelten.
Distanz Quetschbug
Definiert den Vorgabewert für den Abstand des Quetschbugs zum Blech.
Modus
Ändert die Winkelanzeige der Wertetabelle.
Sie können wählen zwischen Anzeige der Biegewinkel (Winkel von links nach rechts ansteigend) und Öffnungswinkel (Winkel von links nach rechts abfallend).
Einheit
Bestimmt die Einheit der Biegetabelle. Die Zuschlagswerte werden umgerechnet, wenn Sie die Einheit ändern.
Dialogfeldbereich Abzüge
db_ath_mat_sys_bend_zuschlaege
Hier definieren Sie die Abzüge für die aktuelle Kanttabelle.
Markieren Sie mit der Maus die Zeile, die Sie bearbeiten möchten. Wenn Sie eine markierte Zelle anklicken, wird diese zur Bearbeitung freigegeben. Sie können nun den Zuschlagswert direkt in der Zelle ändern. Bei Rechtsklick erscheint ein Kontextmenü mit weiteren Bearbeitungsmöglichkeiten.
Zeile anfügen
Erstellt eine Kopie der markierten Zeile über der markierten Zeile und gibt die Zelle Dicke zur Bearbeitung frei.
Zeile einfügen
Erstellt eine Kopie der markierten Zeile am Listenende und gibt die Zelle Dicke zur Bearbeitung frei.
Zeile löschen
Entfernt die markierte Zeile aus der Tabelle.
Einstellungen speichern
Speichert die Änderungen an Biegetabellen. Wenn Sie die Änderungen nicht speichern und das Dialogfeld mit OK verlassen sind die Änderungen nur für die Zeichnungssitzung gültig.
| Die Änderungen werden in der Datei cpl_mat.dex gespeichert. |
Klicken Sie OK um das Dialogfeld zu schließen und die Änderungen zu speichern. Klicken Sie Abbrechen um die Änderungen zu verwerfen. ATHENA kehrt in beiden Fällen zum Ausgangsdialogfeld zurück.
Zuletzt geändertes Datum: 20.07.2022