ATHENA 2021 > Befehle und Funktionen > Bemaßung > Höhenkoten vertikal
  
Höhenkoten vertikal
Multifunktionsleiste:
Register ATHENA > Gruppe Beschriften > Höhenkoten vertikal
Menü:
ATHENA > Bemaßung > Höhenkoten vertikal
Werkzeugkasten:
ATH Bemaßung Höhenkoten vertikal
ATHENA Bemaßung Höhenkoten vertikal
Befehlseingabe:
ath_hove
Mit dieser Routine erzeugen Sie Höhenkoten mit automatischer Berechnung in vertikaler Richtung.
Sie können vertikale Höhenkoten auch in Verbindung mit abgerissener Bemaßung verwenden. Die Abrissdefinitionen werden voll berücksichtigt.
ath_hove
Vertikale Höhenkoten
Eingabeaufforderung 
Höhenkote oder Bemaßung der Definition wählen oder [Neu/?] <Neu>:
Klicken Sie eine vorhandene Höhenkote oder Bemaßung mit der Maus an um eine bestehende Definition zu ergänzen.
Verwenden Sie die Option Neu um eine neue Definition zu erstellen.
Mit der Option ? rufen Sie die Hilfe auf.
Erste Höhenkote schon definiert.
Höhenkoten auf einer Flucht [Ja/Nein/?] <Nein>:
Verwenden Sie die Option Nein um jede Höhenkote vertikal beliebig abzusetzen.
Verwenden Sie die Option Ja um einen Fluchtpunkt für die Höhenkoten zu definieren.
Fluchtpunkt angeben oder [?]:
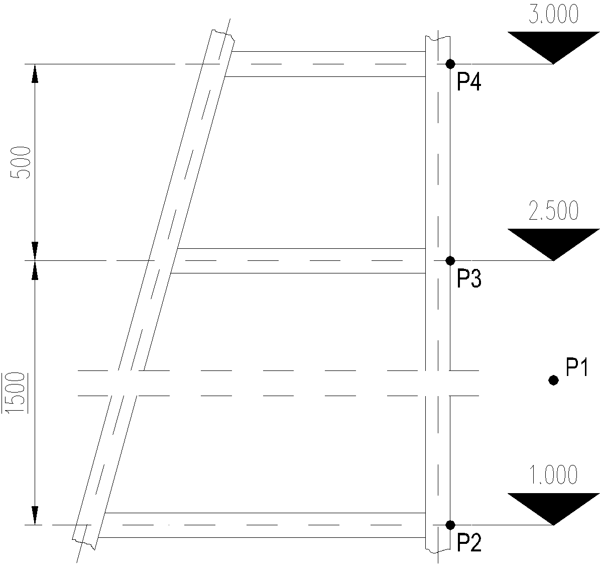
Geben Sie den Fluchtpunkt an, der die vertikale Lage der Höhenkoten bestimmt; siehe Abbildung Vertikale Höhenkoten P1.
Option Neu
Aktuelle Einstellung: Kommastellen: 0, Maßstab: 1
Ersten Punkt angeben oder [Einstellungen/?]:
Mit Erster Punkt ist die Definitionshöhenkote gemeint. Klicken Sie einen Punkt an, dessen Höhe bekannt ist (siehe Abbildung Vertikale Höhenkoten P2).
Verwenden Sie die Option Einstellungen, um in einem Dialogfeld die Einstellungen der Höhenkote zu ändern.
Horizontale Lage der Kote angeben oder [?]:
Geben Sie einen Punkt durch Klicken mit der Maus oder Eingabe der Koordinaten an um die vertikale Lage der Höhenkoten zu bestimmen; siehe Abbildung Vertikale Höhenkoten P1.
Höhe für ersten Punkt (mm) eingeben oder [?] <0>:
Geben Sie die Höhe für den gewählten Punkt ein. Dieser Wert ist die Berechnungsgrundlage für die weiteren Höhenkoten; siehe Abbildung Vertikale Höhenkoten 1000.
Aktuelle Einstellung: Kommastellen: 0, Maßstab: 1
Nächsten Punkt angeben oder [Einstellungen/?]:
Geben Sie den nächsten Punkt an, von welchem eine Höhenkote erzeugt werden soll (z.B. P3) oder wählen Sie eine Option. Die Eingabeaufforderung wird wiederholt, bis Sie ENTER eingeben um den Befehl zu beenden.
Die Anmerkungen zu vertikalen Höhenkoten sind identisch mit den Anmerkungen zu horizontalen Höhenkoten.
Zugehörige Befehle
Abriss
Abgerissene Bemaßung definieren
Abgerissene Bemaßung setzen
Höhenkoten horizontal