ATHENA 2021 > Commands and functions > Dimensions > Vertical levels
  
Vertical levels
Ribbon:
Tab ATHENA > Group Label > Vertical levels
Menu:
ATHENA > Dimension > Vertical levels
Toolbar:
ATH Dimension Vertical levels
ATHENA Dimension Vertical levels
Command input:
ath_hove
With this routine you create levels with automatic computation in the vertical direction.
You can also use vertical levels in conjunction with interrupted dimensions. The interruption definitions are taken fully into account.
ath_hove
Vertical levels
Input request 
Select level or dimension of definition or [New/?] <New>:
Click an existing level or dimension with the mouse to supplement an existing definition.
Use Option New to create a new definition.
With the option ? you call the help.
First level already defined.
Levels aligned [Yes/No/?] <No>:
Use the option No to place each level vertically as required.
Use the option Yes to define an alignment point for the levels.
Specify alignment point or [?]:
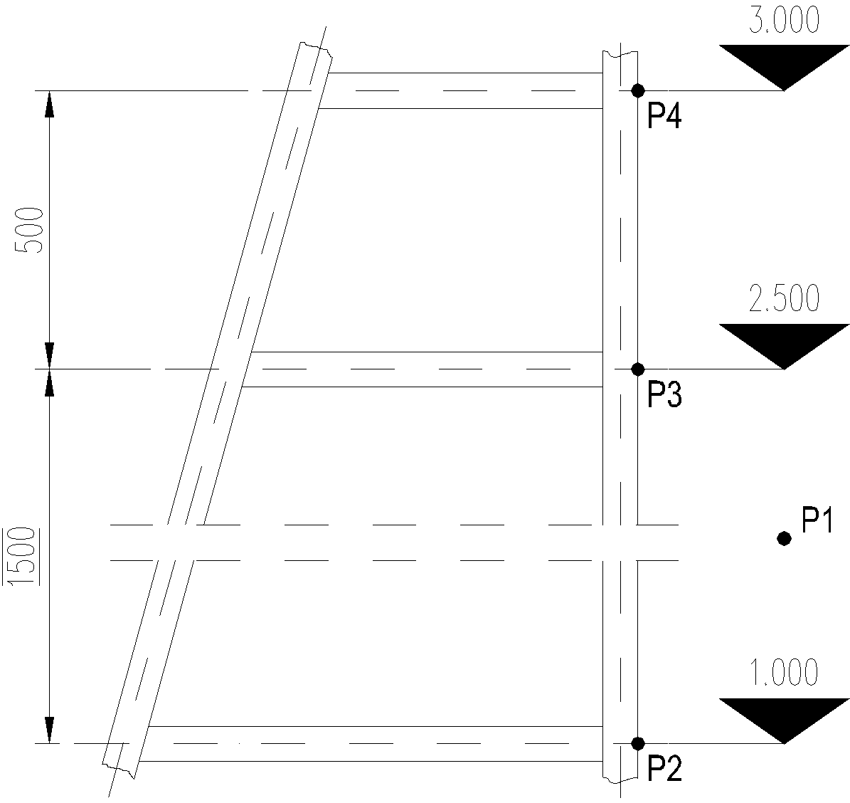
Specify an alignment point which determines the vertical position of the levels; see illustration Vertical levels P1.
Option New
Current setting: Decimal places: 0, Scale: 1
Specify first point or [Settings/?]
The first point means the definition level. Click a point, the height of which is known (see illustration Vertical levels P2).
Use the Option Settings to change the level settings in a dialog box.
Specify the horizontal position of the level or [?]:
Specify a point by clicking with the mouse or entering the co-ordinates to define the vertical position of the levels; see illustration Vertical levels P1.
Enter the height of the first point (mm) or [?] <0>:
Enter the height for the selected point. This value forms the basis of computation for the other levels; see illustration Vertical levels 1000.
Current setting: Decimal places: 0, Scale: 1
Specify next point or [Settings/?]:
Specify the next point from which a level is to be created (e.g. P3) or select an option. The input request is repeated until you enter ENTER to terminate the command.
The notes on vertical levels are identical to the Note about horizontal levels.
Associated commands
Interruption
Define interrupted dimension
Set interrupted dimensions
Horizontal levels