ATHENA 2021 > Befehle und Funktionen > Zeichnen > Versiegelung
  
Versiegelung
Multifunktionsleiste:
Register ATHENA > Gruppe Zeichnen > Versiegelung
Menü:
ATHENA > Zeichnen > Versiegelung
Werkzeugkasten:
ATH Zeichnen > Versiegelung
ATHENA Zeichnen > Versiegelung
Befehlseingabe:
ath_seal
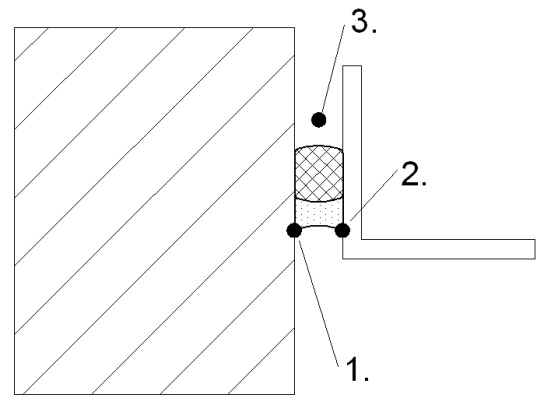
Mit diesem Befehl können Sie mit nur wenigen Mausklicks eine Versiegelung erzeugen. Diese kann optional mit Hinterfüllung dargestellt werden.
Eingabeaufforderung 
Diese Eingabeaufforderung erscheint nur, wenn im Dialogfeld Eigenschaften Versiegelung die Option Am Bildschirm bestimmen aktiviert wurde.
Option Objekt
[Objekt-Modus]
Erste Fugenkante Objekt wählen oder [Punkt/Einstellungen/?] <Punkt>:
Wählen Sie ein Objekt um die erste Fugenkante zu definieren. Berücksichtigen Sie hierbei, dass die Seite der Versiegelung von der gewählten Seite des Objektes abhängt.
Verwenden Sie die Option Punkt um die Versiegelung durch Angabe von Punkten zu erzeugen.
Verwenden Sie die Option Einstellungen um die Eigenschaften der Versiegelung anzupassen.
Mit der Option ? rufen Sie die Hilfe auf.
Zweite Fugenkante Objekt wählen oder [Punkt/Einstellungen/Zurück/?] <Punkt>:
Wählen Sie ein Objekt um die zweite Fugenkante zu definieren.
Verwenden Sie die Option Zurück um die vorherige Eingabeaufforderung zu wiederholen.
ath_silikon_objektmodus
Versiegelung Objektmodus
Option Punkt
[Punkt-Modus]
Ersten Fugenpunkt angeben oder [Objekt/Einstellungen/?] <Objekt>:
Geben Sie den ersten Fugenpunkt an.
Verwenden Sie die Option Objekt um die Versiegelung durch Objektwahl zu erzeugen.
Verwenden Sie die Option Einstellungen um die Eigenschaften der Versiegelung anzupassen.
Mit der Option ? rufen Sie die Hilfe auf.
Zweiten Fugenpunkt angeben oder [Objekt/Einstellungen/Zurück/?]:
Geben Sie den zweiten Fugenpunkt an.
Verwenden Sie die Option Zurück um die vorherige Eingabeaufforderung zu wiederholen.
Seite angeben oder [Zurück/Scheitelpunkt/?]:
Bestimmen Sie auf welcher Seite die Versiegelung gezeichnet werden soll.
Verwenden Sie die Option Scheitelpunkt um eine trapezförmige Versiegelung zu erstellen.
Option Scheitelpunkt
Scheitelpunkt angeben oder [Zurück/?] <Zurück>:
Bestimmen Sie den Scheitelpunkt der Versiegelung.
Diese Eingabeaufforderung erscheint nur, wenn im Dialogfeld Eigenschaften Versiegelung die Option Am Bildschirm bestimmen deaktiviert wurde.
Einfügepunkt angeben oder [?]:
Bestimmen Sie den Einfügepunkt der Versiegelung.
Mit der Option ? rufen Sie die Hilfe auf.
Drehwinkel angeben <0>:
Bestimmen Sie den Drehwinkel der Versiegelung.
Drücken Sie die Eingabetaste um den Vorgabewinkel zu übernehmen.
ath_silikon_punktmodus
Versiegelung Punktmodus
Option Einstellungen
Öffnet das Dialogfeld Eigenschaften Versiegelung.
Dialogfeld Eigenschaften Versiegelung
Im Dialogfeld finden Sie auf der linken Seite den Darstellungsbereich mit der dynamischen Vorschau. Auf der rechten Seite sehen Sie den Bedienbereich mit den Registerkarten Eigenschaften und Verwaltung. Die Eigenschaften sind objektspezifisch, die Verwaltung ist bei allen Objekten gleich.
db_ath_silikon
Links oben gibt es zwei Buttons für Favoriten. Weitere Informationen dazu finden Sie im Abschnitt Favoriten speichern und verwenden.
Die Vorschau dient in erster Linie der visuellen Kontrolle und zeigt die Versiegelung mit den eingestellten Eigenschaften.
Dialogfeldbereich Variante
Dichtschnur
Bestimmt ob die Versiegelung mit oder ohne Dichtschnur hinterfüllt werden soll.
Variante 1
Aktiviert die Variante dünne Versiegelung und dicke Dichtschnur.
Variante 2
Aktiviert die Variante dicke Versiegelung und dünne Dichtschnur.
Variante 3
Aktiviert die Variante dicke Versiegelung und dicke Dichtschnur.
Beim nachträglichen Ändern der Varianten von Versiegelungen wird jeweils nur die Dicke der Versiegelung geändert. Die Dicke der Dichtschnur bleibt so, wie sie erstellt wurde.
Dialogfeldbereich Darstellung
Schraffur Silikon
Schraffiert den Silikonanteil der Versiegelung.
Schraffur Dichtschnur
Schraffiert die Dichtschnur der Versiegelung.
Öffnet das Dialogfeld Layerzuordnung. Weitere Informationen dazu finden Sie im Kapitel Layerzuordnung.
Öffnet das Dialogfeld Schraffurzuordnung. Weitere Informationen dazu finden Sie im Kapitel Schraffurzuordnung.
Öffnet das Dialogfeld Beschriftung. Weitere Informationen dazu finden Sie im Kapitel Beschriftung.
Registerkarte Eigenschaften
Am Bildschirm bestimmen
Bestimmt die Abmaße der Versiegelung am Bildschirm, wenn Sie das Dialogfeld mit OK schließen. Es folgen weitere Eingabeaufforderungen.
Die Option Am Bildschirm bestimmen wird dauerhaft gespeichert.
Wenn diese Option aktiviert wurde sind die Eingabefelder Breite und Winkel deaktiviert. Ansonsten können Sie die Abmaße in diesen Eingabefeldern angeben.
Breite
Definiert die Breite der Versiegelung.
Winkel
Definiert den Winkel der Versiegelung.
Material
Öffnet das Dialogfeld Materialauswahl, wo Sie ein Material auswählen können. Weitere Hinweise zu Materialien finden Sie in den Kapiteln Material und Materialauswahl.
Artikel
Öffnet das Dialogfeld Artikel, wo Sie eine Artikelnummer angeben können. Eine ausführliche Erklärung zu Artikeln finden Sie im Kapitel Artikel.
Registerkarte Verwaltung
Eine ausführliche Beschreibung der Verwaltungsfunktionen finden Sie im Kapitel Verwaltung von Objekten.
Anmerkungen 
Sie können eine Versiegelung durch Strecken oder mit Griffen an verschiedene Formen anpassen.
Sie können die Eigenschaften der Versiegelung mit dem Befehl Objekt ändern oder mit Doppelklick ändern.
Sie können die Versiegelung mit dem Befehl Teile beschriften automatisch beschriften.
Sie können die Layervoreinstellungen für die Versiegelung im Dialogfeld Layerzuordnung ändern.