ATHENA 2021 > Commands and functions > Drawing > Seal
  
Seal
Ribbon:
Tab ATHENA > Group Drawing > Seal
Menu:
ATHENA > Drawing > Seal
Toolbar:
ATH Drawing > Seal
ATHENA Drawing > Seal
Command input:
ath_seal
With this command you can create a seal with just a few mouse clicks. This can be shown optionally with back-filler.
Input request 
This input request only appears when the option Determine on screen has been activated in the Dialog box Seal properties.
Option Object
[Object Mode]
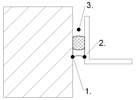
Select first joint edge of object or [Point/Settings/?] <Point>:
Select an object to define the first joint edge. In this respect take into account that the side of the seal depends on the selected side of the object.
Use the Option Point to create the seal by specifying points.
Use the Option Settings to adapt the properties of the seal.
With the option ? you call the help.
Select second joint edge of object or [Point/Settings/Undo/?] <Point>:
Select an object to define the second joint edge.
Use the option Undo to repeat the previous input request.
ath_silikon_objektmodus
Seal object mode
Option Point
[Point Mode]
Specify first joint point or [Object/Settings/?] <Object>:
Specify the first joint point.
Use the Option Object to create the seal by object selection.
Use the Option Settings to adapt the properties of the seal.
With the option ? you call the help.
Specify second joint point or [Object/Settings/Undo/?]:
Specify the second joint point.
Use the option Undo to repeat the previous input request.
Specify side or [Undo/Apex/?]:
Specify on which side the seal is to be drawn.
Use Option Apex to create a trapezoidal seal.
Option Apex
Specify apex or [Undo/?]: <Undo>:
Define the apex of the seal.
This input request only appears when the option Determine on screen has been deactivated in the Dialog box Seal properties.
Specify insertion point or [?]:
Specify the insertion point of the seal.
With the option ? you call the help.
Specify rotation angle <0>:
Define the rotation angle of the seal.
Press the Enter key to accept the default angle.
ath_silikon_punktmodus
Seal point mode
Option Settings
Opens the Dialog box Seal properties.
Dialog box Seal properties
In the dialog box you will find on the left side the display section with the dynamic preview. On the right side you can see the operating section with the tabs Properties and Manager. The properties are object specific; the manager is the same for all objects.
db_ath_silikon
At the top left there are two buttons for favorites. You will find further information on this in the section Saving and using favorites.
The preview is primarily intended for visual checks and shows the seal with the set properties.
Dialog box section Variant
Sealing cord
Defines whether the seal is to be back-filled with or without sealing cord.
Variant 1
Activates the variant of thin seal and thick sealing cord.
Variant 2
Activates the variant of thick seal and thin sealing cord.
Variant 3
Activates the variant of thick seal and thick sealing cord.
With subsequent changes to the variants of seals, in each case only the thickness of the seal is changed. The thickness of the sealing cord remains as it was produced.
Dialog box section Display
Hatch silicone
Hatches the silicone part of the seal.
Hatch sealing cord
Hatches the sealing cord of the seal.
Opens the Dialog box Layer assignment. You will find further information on this in the Chapter Layer assignment.
Opens the Dialog box Hatch pattern assignment. You will find further information on this in the Chapter Hatch pattern assignment.
Opens the Dialog box Label. You will find further information on this in the Chapter Label.
Tab Properties
Determine on screen
Determines the dimensions of the seal on the screen when you close the dialog box with OK. Further input requests follow.
The option Determine on screen is saved permanently.
If this option has been activated, the input fields Width and Angle are deactivated. Otherwise you can specify the dimensions in these input fields.
Width
Defines the width of the seal.
Angle
Defines the angle of the seal.
Material
Opens the Dialog box Material selection, where you can select a material. You will find further information on materials in Chapters Material and Material selection.
Item
Opens the Dialog box Item, where you can select an item number. You will find a detailed explanation on items in the Chapter Item.
Tab Manager
You will find a detailed description of the functions of the manager in the Chapter Management of objects.
Note 
You can fit a seal to various shapes by stretching or with grips.
You can change the seal properties with the command Modify object or by a double click.
You can automatically label the seal with the command Parts labeling.
You can change the layer default settings for the seal in Dialog box Layer assignment.