ATHENA 2021 > Befehle und Funktionen > Engineering > Ucw-Wert einer Fassade
  
Ucw-Wert einer Fassade
Multifunktionsleiste:
Register ATHENA > Gruppe Extras >
Ucw-Wert für Fassade
Menü:
ATHENA > Engineering > Ucw-Wert für Fassade
Werkzeugkasten:
ATHENA Engineering > Ucw-Wert für Fassade
Befehlseingabe:
ath_ucw
Mit dieser Routine können Sie den durchschnittlichen Wärmedurchgangs-koeffizienten für ein Fenster oder eine Fassade berechnen.
Dialogfeld Ucw-Wert für Fassade
db_ath_ucw
Dialogfeldbereich Bauteil
Im Dialogfeld können Sie in der Eingabezeile oben einen Kommentar oder einen Titel für die Berechnung eingeben. Der Titel kann in verschiedenen Sprachen gespeichert werden. Wählen Sie dazu die gewünschte Sprache aus der Liste und geben Sie den Text in der gewählten Sprache ein.
In den Eingabefeldern können Sie die Parameter für die jeweilige Position definieren. Folgende Werte können eingegeben werden:
Anzahl: Anzahl der Bauteile.
Pos.Nr.: Laufende Nummer oder Positionsnummer des Bauteils.
Bezeichnung: Name des Bauteils
Sie können die Bezeichnung ebenso wie den Titel in verschiedenen Sprachen definieren.
U [W/m²K]: Wärmedurchgangskoeffizient des Bauteils
A [m²]: Fläche des Bauteils
Psi [W/mK]: Längenbezogener Wärmedurchgangskoeffizient für eingespannte Bauteile (z.B. Scheiben).
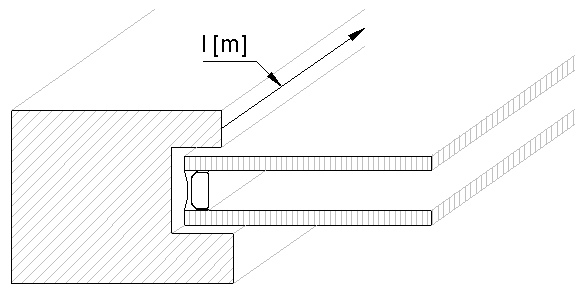
l [m]: Länge der Einspannung des eingespannten Bauteils (siehe auch Abb. unten).
ath_ucw
Länge der Einspannung (Psi-Wert)
Mit der Schaltfläche Edit übertragen Sie die Angaben des, in der Tabelle Bestandteile Fassade markierten Bauteils, in die Eingabefelder. Sie können nun einzelne Parameter in den Eingabefeldern ändern.
Mit der Schaltfläche Einfügen, werden die Angaben aus den Eingabefeldern in die Tabelle Bestandteile Fassade übertragen. Die Angaben werden immer unterhalb der markierten Zeile eingefügt.
Mit der Schaltfläche Ersetzen wird die markierte Position in der Tabelle mit den Angaben aus den Eingabefeldern überschrieben.
Wenn Sie die Schaltfläche Entfernen betätigen, wird die markierte Position aus der Tabelle gelöscht.
Wenn Sie Sortieren anklicken werden die Positionen umsortiert.
Dialogfeldbereich Bestandteile Fassade
Hier werden die eingegebenen Elemente bzw. Fassadenbereiche mit ihren Werten angezeigt. Markieren Sie eine Zeile mit der Maus, wenn Sie diese ändern (Ersetzen) möchten.
Dialogfeldbereich Fassade
Hier werden die berechneten Ergebnisse für die Fläche (Acw in m²) und für den Wärmedurchgangskoeffizienten (Ucw in W/m²K) angezeigt.
Dialogfeldbereich Ausgabe
Wenn die Option Text einfügen aktiviert ist, wird bei anklicken von OK ein Ergebnistext in die Zeichnung eingefügt. Es folgt eine Eingabeaufforderung in der Befehlszeile. Im Feld Texthöhe können Sie die Texthöhe für die Tabelle festlegen. Mit dem Button Vorgabe wird die Vorgabetexthöhe (aktuelle Maßzahlhöhe) eingestellt. Mit den Auswahlfeldern Textstil Kopf und Tabelle definieren Sie die Textstile für die entsprechenden Tabellenelemente.
Eingabeaufforderung 
Einfügepunkt angeben oder [?]:
Bestimmen Sie den Einfügepunkt der Ergebnistabelle.
Mit der Option ? rufen Sie die Hilfe auf.
Drehwinkel angeben oder [?] <0>
Bestimmen Sie den Drehwinkel der Ergebnistabelle.
Drücken Sie die Eingabetaste um den Vorgabedrehwinkel zu übernehmen.
Hinweis: Diese Funktion zur Berechnung bauphysikalischer Werte ist ein Hilfsmittel für den Anwender. Die Firma CAD-PLAN GmbH haftet in keinster Weise für die Ergebnisse und die daraus entstehenden Fehler und Schäden!