ATHENA 2021 > Commands and functions > Engineering > Ucw value for a facade
  
Ucw value for a facade
Ribbon:
Tab ATHENA > Group Extras >
Ucw value for facade
Menu:
ATHENA > Engineering > Ucw value for facade
Toolbar:
ATHENA Engineering > Ucw value for facade
Command input:
ath_ucw
With this routine you can compute the mean thermal transmission coefficient for a window or a facade.
Dialog box Ucw Value for Facade
db_ath_ucw
Dialog box section Component
In the dialog box you can enter a comment or a title for the computation in the input line at the top. The title can be saved in various languages. To do this, select the required language from the list and enter the text in the chosen language.
You can define the parameters for the respective position in the input fields. The following values can be entered:
Number: Number of components.
Pos.No.: Incremental number or position number of the component.
Label: Component name
You can define the designation similarly as with the title in various languages.
U [W/m²K]: Thermal transmission coefficient of the component
A [m²]: Area of component
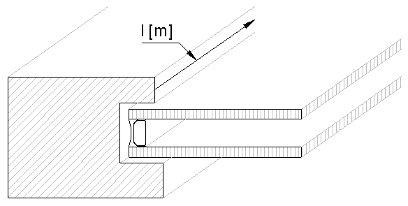
Psi [W/mK]: Length-referred thermal transmission coefficient for clamped components (e.g. panes).
l [m]: Length over which the component is clamped (see also the figure below).
ath_ucw
Length of clamping (Psi value)
With the Edit button you transfer the details of the component, which is marked in the table Facade components, to the input fields. You can only change single parameters in the input fields
With the Insert button the details from the input fields are transferred into the table Facade components. The details are always inserted below the marked line.
With the button Replace the marked position in the table is overwritten with the details from the input fields.
If you press the button Remove, the marked position is deleted from the table.
If you click Sort, the positions are sorted.
Dialog box section Facade components
Here the entered elements or facade sections are displayed with their values. Mark a line with the mouse if you want to change it (Replace).
Dialog box section Facade
Here the computed results for the area (Acw in m²) are computed and displayed for the heat transfer coefficient (Ucw in W/m²K).
Dialog box section Output
When the option Insert text is activated, a results text is inserted into the drawing on clicking OK. An input request in the command line follows. You can define the text height for the table in the field Text height. With the button Default the default text height (current height of dimension figures) is set. With the pick lists Text style header and Table you define the text style for the corresponding table elements.
Input request 
Specify insertion point or [?]:
Specify the insertion point of the results table.
With the option ? you call the help.
Specify rotation angle or [?] <0>
Determine the rotation angle of the results table.
Press the Enter key to accept the default rotation angle.
Note: This function for the calculation of building physics values is an aid for the user. CAD-PLAN GmbH can in no way be held liable for the results and any errors and losses arising from it.